Датчик с кинематическим механизмом для наладки инструмента
Англия
- Проводим пусконаладочные работы
- Гарантия 12 месяцев
- Новое оборудование от производителя
- Свой склад в Перми
Датчик с кинематическим механизмом для наладки инструмента на токарных станках и токарных обрабатывающих центрах; может также использоваться для привязки детали к системе координат станка.
Допускает установку в специальные держатели сторонних производителей. Датчик снабжен универсальным резьбовым соединением M4, позволяющим использовать любой щуп компании Renishaw. Простая процедура подсоединения выходов датчика к кабелю интерфейса благодаря предусмотренному специальному комплекту.
Малая длина корпуса датчика дает существенные преимущества при наладке инструмента, а по своим техническим характеристикам эта модель не уступает традиционным контактным триггерным датчикам компании Renishaw.
Основные характеристики и преимущества
- Совместимость со всеми щупами с резьбой M4 производства компании Renishaw.
- В стандартном исполнении применяется вместе с прецизионными руками для наладки инструмента серии HP (HPRA, HPPA, HPMA).
- Эксплуатационная гибкость: для использования сторонними производителями предлагается специальный комплект.
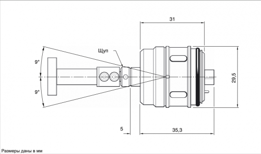
- Повышенная надежность датчика благодаря большому значению допустимого перебега в 9°.
- Повторяемость: 1,00 мкм (2σ ).
| Технические характеристики: | |||
| Основное назначение | Использование совместно с автоматическими и неавтоматическими руками для наладки инструмента на двух- и трехкоординатных токарных станках. | ||
| Способ передачи сигнала | Проводная передача сигналов | ||
| Совместимые интерфейсы | MI 8-4, TSI 2, TSI2-C, TSI 3, TSI 3-C | ||
| Рекомендуемые щупы | 48,75 мм | ||
| Выходные сигналы датчика | Специальный комплект с платой подключения | ||
| Масса | 80 г | ||
| Направление измерений | ±X, ±Y, +Z | ||
| Односторонняя повторяемость | 1,00 мкм (2σ) | ||
|
Усилие срабатывания щупа
Малое усилие в плоскости XY Большое усилие в плоскости XY В направлении +Z |
1,50 Н, 153 гс 3,50 Н, 357 гс 12,00 Н, 1224 гс |
||
| Класс защиты | IPX8 (EN/IEC60529) | ||
| Рабочая температура | От +5 °C до +60 °C | ||
Если необходимо использовать датчик RP3 по оси датчика Z (ось Y токарного станка), то следует использовать пятигранный щуп.
Проверка эксплуатационных характеристик выполнялась при стандартной скорости 480 мм/мин со щупом 35 мм. В зависимости от требований конкретной задачи может выбираться значительно более высокая скорость.
Усилие срабатывания – это усилие, оказываемое щупом на измеряемый объект в момент срабатывания датчика. В некоторых случаях величина этого усилия является критическим фактором. Максимальное прилагаемое усилие достигается после момента срабатывания, т. е. при перебеге. Значение усилия зависит от соответствующих переменных факторов, включая скорость измерения и величину замедления на станке.
Оставьте заявку
Перезвоним в течение рабочего дня. Обсудим задачи, найдем оптимальное решение и запланируем работы.
Будем на связи!


